TOP製品情報 - キーボード - Realforce89U NF0100

Realforce89U NF0100 キーボード  (Windows用)

“キー配列変更機能” 搭載                    

このような皆さんへ特にお勧めします

・お仕事で多くの文章を入力される方
・在宅ワークでデータ入力やテープ起こしをされる方
・チャットなどでもっとタイピングを速くしたい方
・キーボードで入力していると手が痛くなるという方

パソコンの付属品として軽視されがちなキーボードですが、直接触れるのはCPUやメモリではなくキーボードです。
職人が道具にこだわるようにキーボードにもこだわりを持ちましょう。

項 目 Realforce89U NF0100 仕様  

Realforce89キーボード

Realforce89U NF0100

キー配列

日本語 89キーボード  

(テンキー無し、Winキー無し、Appキー無しで89キー)

スイッチ方式 静電容量方式
ストローク 4.0mm
押下特性 30g、45g、ソフトタクタイルフィーリング
インターフェース

USB接続

ケーブル長 約1.5m
外形寸法、重量 366mm(幅)×168.5mm(奥行)×37.5mm(高さ)、約1.2kg

特殊機能

キー配列変更機能

裏面のディップスイッチで、ESCと半角/全角の切替、CapsLockとCtrlの切替が出来ます。
(下図参照)

・特殊モードに切り換えることで専用ソフトに対応出来ます。 (セガのゲームのみ)

スイッチNo.

機能


OFF: CapsLock = CapsLock  左Ctrl = 左Ctrl

ON : CapsLock =左Ctrl  左Ctrl = CapsLock
 


OFF: 半角/全角 = 半角/全角 ESC = ESC

ON : 半角/全角 =ESC ESC = 半角/全角


OFF:通常モード

ON :特殊モード


OFF:サスペンド時WakeUp無効

ON :サスペンド時WakeUp有効

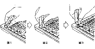
キートップの交換

 キートップ引抜工具とCapsLockとCtrlの交換用キートップを添付されておりますので、交換が可能です。

Realforce89U NF0100

 

高速・長時間入力に最適な理由 もっと知りたいRealforceシリーズ

注:本仕様は予告なく変更されることがあります。

 


Copyright(c)2003 KMICo., Ltd.All rights reserved